为什么阜阳这家中华老字号企业所有资产都被拍卖
来源:阜阳公众网
热度:0
时间:2020-04-07
导读:
近日,颍泉区人民法院将在阿里司法拍卖平台上公开拍卖两只石狮子。
本以为拍卖对象可以是房产、车子等,万万没想到,连石狮子也成了拍卖对象!

这两只石狮子评估价值为9000元,起拍价9000元,需要交纳保证金1800元。
与石狮子一起拍卖的,还有被执行人李永明名下的房产、汽车、阜阳宏达食品有限公司的多个注册商标和生产器械以及一批废旧设备等。
包括:
颍泉区三里湾商城A4#楼204室房产一处

皖KC0675福田牌汽车一辆
皖KC8885起亚牌汽车一辆
食品加工生产器械22种


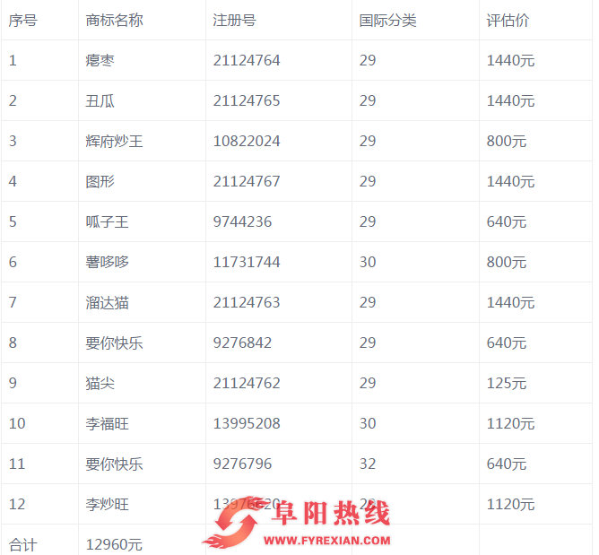
阜阳宏达食品有限公司注册商标12个


等待拍卖的两只石狮子还立在大门前↓


到底经历了什么?连石狮子都要被拿出来拍卖?
据了解,阜阳宏达食品有限公司可不简单,其中一个注册商标“叫花鸡”还是“中华老字号”。

要知道,在商务部认定的“中华老字号”名单中,阜阳仅有2家企业产品商标被认定为“中华老字号”,一家是安徽金种子集团有限公司(注册商标:颍州),另一家就是阜阳宏达食品有限公司(注册商标:叫花鸡)。
“叫花鸡”名气虽没有“颍州”大,但却已经传承了600多年。最早能追溯到明朝洪武皇帝朱元璋时期。
相传,在朱元璋还没有建立明朝之前为乞丐的时候,吃到了颍州李氏家族所炒制的瓜子,大赞其口感独特,干脆香醇。后朱元璋称帝时,赐名为富贵鸡瓜子。后明亡清立,为了避嫌,李氏家族将其改名为叫花鸡瓜子,传至今日。
2002年,李氏传人李永明在市开发区创办了阜阳宏达食品有限公司,并且把“叫花鸡”注册了商标,还成为了商务部认定的“中华老字号”。

有了中华老字号的金字招牌,生意不应该越做越好吗?
然而,从2015年开始,李永明陷入了借贷纠纷。李永明和阜阳宏达食品有限公司欠款两千多万不还。

为清偿债务,阜阳市颍泉区人民法院对李永明名下的房产、汽车、公司设备等进行了评估;将于近日进行公开拍卖。其中的拍卖物品,就包括文章开头的那对石狮子。

曾经辉煌的公司
如今竟然沦落成这样
真是让人唏嘘啊!
栏目分类
最新文章
热门文章




皖公网安备 34120202000005号


